На цій сторінці опубліковані креслення та схеми, які дають уявлення про будову та конструкцію важкого совєтського танка ІС-2. Зображення можна відкрити у більшому розмірі, натиснувши по них Джерела зображень будуть вказані в кінці статті. У розділі "Загальна інформація" є посилання для швидкого переходу до потрібного розділу.
Опис креслень та схем наводиться мовою оригіналу, так як зараз не маю змоги займатися перекладом.
A blueprints and a drawings of a Soviet heavy tank IS-2 (JS-2).
Фото танка ІС-2
ІС-2 — важкий радянський танк, що з'явився на фронті під час Другої світової війни у 1944 році. Завдяки своїй потужній 122-мм гарматі та важкому бронюванню, він відзначався високою бойовою потужністю. Незважаючи на велику масу, володів високою маневреністю завдяки потужному двигуну.
Після введення в експлуатацію було розроблено подальші модифікації, зокрема ІС-2М, який отримав певні технічні вдосконалення.
Після Другої світової танк лишався на озброєнні кількох країн світу, але видимої ролі в подальших війнах участі не брав. Під час Корейської війни, Китай був готовий вести у бій полк з танками ІС-2, але вони так і не брали участі в боях.

Схема бронювання, товщина броні
Корпус (носовая часть и правый борт): (ИС-2М)
1— верхний наклонный. лист; 2 — ограждение фары и сигнала; 3 — кронштейн крепления надгусеничной полки; 4 — кронштейн крепления предохранительной планки; 5 — буксирный крюк: 6 — нижний наклонный лист; 7 — бонки для крепления запасных траков; 8 — пружинная защелка; 9 — кронштейн кривошипа направляющего колеса; /0 — цапфа механизма натяжения гусеницы; 17 — блок нижней подвески; 72 — упор балансира; 13 — кольцо для крепления кронштейна поддерживающего катка; 74 — бонка для крепления грязеочистителя; 15 — вырез под картер бортовой передачи; 16 — вертикальный бортовой лист; 17 — надгусеничная полка; 78 — кронштейны для крепления наружных топливных баков; 19 — ящик для хранения ЗИП; 20 —кронштейн крепления переднего габаритного фонаря; 27 — перед- вий откидной грязевой щиток; 22 — люк прибора наблюдения механика-водителя; 23 — броневой колпак смотровой щели механика-водителя; 24 — защитная планка
Корпус (носовая литая часть): (ИС-2М)
1 — лобовая литая часть корпуса; 2 — буксирный крюк; 3 — пружинная защелка; 4 — бонки для крепления запасных траков; 5 — блок нижней подвески; 6 — кронштейн кривошипа направляющего колеса; 7 — цапфа механизма натяжения гусеницы; 8 — ящик (ниша) для хранения ЗИП; 9 — прилив со сквозным отверстием для стрельбы из курсового пулемета; 10 — смотровой люк механика-водителя; 11 — ограждение фары и сигнала; 12 — надгусеничная полка
ИС-2М. Корпус (кормовая часть и крыша):
1— верхний кормовой лист; 2 — кронштейн крепления съемного грязевого щитка; 3 — крышка правого кормового люка; 4 — буксирный для крепления запасных траков; 70 — петля; 11 — крышка левого кормового люка; 72 — отверстие под картер бортовой передачи; 13 — вертикальный бортовой лист; 14 — боковой лист ниши; 15 — упор балансира; 16 — блок нижней подвески; 17 — кронштейн габаритного фонаря; 18 — выпускной колпак; 19 — кронштейны для крепления дополнительных топливных баков; 20 —надгусеничная полка; 21 — лючок для заправки масляного бака; 22 — ниша для хранения ЗИП; 23 — подбашенная коробка; 24 — передняя съемная надгусеничная полка; 25 — передний откидной грязевой щиток; 26 — ограждение фары и сигнала; 27 — лючок для заправки передних топливных баков; 28 — отверстие для установки левого смотрового прибора механика-водителя; 29 — отверстие для установки правого смотрового прибора механика-водителя; 30 — вырез для прохода стержня стопора башни; 31 — погон башни; 32 — откидная крышка над двигателем; 33 — пробка лючка для заправки системы охлаждения; 34 — съемная крыша над двигателем: З5 — сетка: 36 — лючок для заправки топливного бака: 37 — жалюзи;
Днище корпуса:
1— надгусеничная полка; 2 — крышка люка запасного выхода: 3 — средний лист днища; 4 и 5 — пробки лючков под воздухоочистителями; 6 — крышка люка под двигателем: 7 — левый надгусеничный лист; 6 — пробка лючка для слива масла из масляного бака; 9 — крышка люка под главным фрикционом; 10— задний лист днища; 11 — крышка лючка для доступа к месту регулировки замка механизма переключения передач; 12 — пробка лючка для слива масла из левого ПМП; 13 — нижний кормовой лист корпуса; 14 — пробка лючка для слива масла из правого ПМП; 15 — накладка; /6 — крышка лючка для слива масла с коробки перемены передач; 17 — предохранительные планки; 18 — правый надгусеничный лист; 19 — пробка лючка для слива топлива; 20 — предохранительные планки; 21 — отверстие для слива охлаждающей жидкости из системы охлаждения; 22 — упор балансира опорного катка; 23 — блок нижней подвески: 24 — пробка лючка для слива горючего из правого переднего бака, 25 — передний лист днища; 26 — нижний носовой лист корпуса; 27 — передний откидной грязевой щиток; 28 — пробка лючка для слива горючего из левого переднего бака
Лючок в днище корпуса:
1 — втулка; 2 — броневая пробка; 3 — вырез под ключ; 4 — уплотнительная прокладка
Корма корпуса; Вид со стороны моторного и трансмиссионного отделений:
1— средний кормовой лист; 2 — люк траисмиссионгого отделения; 3 —
задний фонарь; 4 — выхпонной патрубок; 5 — подмоторные кронштейны
ИС-2М. Корпус (силовое отделение):
1 — выпускные колпаки; 2 — боковые задние листы крыши; 3 — боковые листы ниш корпуса; 4 — опорные косынки; 5 — блок нижней подвески; 6 — кронштейны для установки водяных радиаторов; 7 — резиновая прокладка; 6 — кронштейны крепления балки передней опоры коробки передач; 9 — лист днища; 10 — бортовые листы корпуса; 11 — стойки двуплечих рычагов привода управления коробкой передач; 12 — кронштейны крепления тормозных мостиков; 13 — кронштейны крепления задней опоры коробки передач; 14 — крышки кормовых люков; 15 — средний кормовой лист; 16 — замки кормовых люков; 17 — зубчатый сектор; 18 — опорная планка; 19 — опорная планка; 20 — окно для входа воздуха к двигателю; 21 — перегородка силового отделения; 22 — опоры двигателя; 23 — опорная планка
Электросигнал ГФ-4702:
1 — корпус; 2— крышка; 3 — железный сердечник; 4 — подводной зажим; 5 — выводной зажим; 6 — конденсатор ; 7 — подвижный контакт; 8 — регулировочный винт 9 — прокладка; 10 — неподвижный контакт; 11 — упор мембраны;12 — мембрана: 13 — пластинчатая пружина; 14 — регулировочный винт
Пернскопический смотровой прибор водителя:
1— корпус перископа; 2, 3, 4 — призмы; 6 — прокладка, 6 — бронированный колпак; 7 — переходная втулка; 8 — стопор упора; 9 — стопор качания; 10 — рычажок; 11 — штифт-ограничитель; 12 — шариковая масленка; 13 — колпачок фиксатора; 14, 15 — налобники; 16 — корпус передвижной призмы; 17- рукоятка; 15 — сферический качающийся корпус; 19 —пузырек; 20 — нижний фланец; 21 — верхний фланец; 22 — сальник
Башня:
1 — щель для прицела; 2 — кронштейн крепления люльки пушки; 3 — крюки; 4 — колпак вентилятора; 5 — вырез для установки прибора наблюдения заряжающего; 6 — поручни; 7 — люк заряжающего; 8 — командирская башенка; 9 — бронировка антенного ввода; 10 — вырез для установки прибора наблюдения наводчика; 11 — щиток
Командирская башенка:
1— крыша башни, 2 — основание командирской башенки; 3 — стеклоблок смотрового прибора; 4 — корпус смотрового прибора; 5 — нижний погон; 6 — верхний погон; 7— петля крышки люка; 8 — уплотнительное кольцо; 9 — перископический прибор наблюдения; 10 —защита смотрового прибора; 11 — передняя половина крышки люка; 12 — предохранительный кожух; 13 — кронштейн турельной установки; 14 — задняя половина крышки люка; 16 — петля крышки люка; 17 — уплотнительное кольцо; 18 — ограждение погона; 19 — корпус фиксатора; 20 — фиксатор; 21 — пружина фиксатора; 22 — отверстие; 23 — заслонка; 24 — пружина
Установка стеклоблоков в командирской башенке:
1— кронштейн; 2 — стеклоблок; 3— налобник; 4 — болты крепления; 5 — скоба; 6 — ремень; 7 — рукоятка; 8 — броневая заслонка; 9 — пружина
Прибор наблюдения МК-4:
1— верхняя призма; 2 — броневой колпак; 3 — переходная втулка; 4 — фланцы; 5 — шарнирное соединение; 6 — налобники; 7 — передвижная призма; 8 — ручка; 9 — нижняя призма; 10 — нижняя часть корпуса; 11 — замок; 12 — верхняя часть корпуса; 13 — винт (стопор) качания; 14 — фиксатор передвижной призмы
Установка пушки Д-25Т и спаренного с ней пулемета (вид слева):
1 — дульный тормоз; 2 — ствол; 3 — подвижная бронировка пушки; 4 — маска пушки; 5 — противооткатные устройства; 6 — прицел ТШ-17; 7 — передний лист крыши башни; 8 — шарнирная подвеска прицела; 9 — боковой уровень; 10 — внутренний стопор пушки по-походному; 11 — замок стопора; 12 — кронштейн стопора, прикрепленный к крыше; 13 — кронштейн стопора, прикрепленный к казеннику; 14 — съемный щиток командира; 15 — откидная часть ограждения; 16 — стопор откидной части ограждения; 17 — палец оси вращения откидного ограждения; 18 — кожух, прикрывающий снаружи нижнюю часть спускового механизма; 19 — реле РП-2 электроспуска; 20— рычаг ручного спуска ударника; 21 — рукоятка подъемного механизма; 22 — рычаг электроспуска пушки на рукоятке подъемного механизма; 23 — подъемный механизм пушки; 24 — сектор подъемного механизма; 25 — погон башни; 26 — кронштейн подъемного механизма; 27 — кронштейн установки прицела: 28 — бронещиток прицела; 29 — неподвижное ограждение
Установка пушки и спаренного с ней пулемета (вид сверху):
30 — отверстие в подвижной бронировке для спаренного пулемета ДТМ; 31 — правая цапфа пушки; 32 — правый кронштейн установки пушки; 33 — кронштейн установки пулемета; 34 — магазин пулемета; 35 — пулемет ДТМ; 36 — наметка люльки; 37 — цилиндр накатника; 38 — цилиндр тормоза отката; 39 — рукоятка затвора; 40 — казенник; 41 — закрывающий механизм; 42 — рычаг ручного спуска ударника; 43 — налобник прицела; 44 — левый кронштейн установки пушки; 45 — левая цапфа пушки; 46 — маска пушки; 47 — отверстие в маске для прицела; 48 — отверстие в подвижной бронировке для прицела; 49 — амортизатор подвижной бронировки; 50 — люлька пушки
Дульный тормоз (вид слева):
13 — ушко (51-12); 14 — стопор дульного тормоза (51-13);
а — окна; б — перемычки; в — резьба
Зенитный пулемет на установке:
1 — налобник; 2 — колпак прицела; 3 — кронштейн прицела; 4 — рамочный прицел пулемета; 5 — защелка крышки приемника; 6 — магазин-коробка; 7 — ствол пулемета; 8 — регулировочные болты уравновешивающего механизма; 9 — трубы уравновешивающего механизма; 10 — тяга стопора вертикального наведения; 11 — стопор вилки; 12 — люлька; 13 — рукоятка перезаряжания; 14 — вилка; 15 — болт заднего крепления пулемета; 16 — ручка затыльника
Установка зенитного пулемета:
Обозначения 1—16 те же, что на предыдущем рисунке; 17 — ползун; 18 — наметка; 19 — планка; 20— цапфы люльки; 21 — тормоз; 22 — плавающая планка; 23 — фиксатор; 24 — кронштейн: 25 — болты крепления кронштейна к верхнему погону; 26 — стопор верхнего погона; 27 — палец крепления штока в вилке; 28 — кронштейн магазин-коробки; 29 — стяжной болт на- метки
Ходовая часть танка (общий вид):
1 — блок подвески; 2 и 10— гусеницы; 3 — торсионные валы; 4 — кривошип; 5 — механизм натяжения гусениц; 6 — упор; 7 — кольцо; 8 — балансир; 9 — поддерживающий каток; 11 — опорный каток; 12 — ведущее колесо
Подвеска танка:
1 — опорный каток; 2 — балансир; 3 — крышка; 4 — пружинное кольцо; 5 — прокладка; 6 — труба балансира; 7 и 12 —блок подвески; 8 — наружная втулка; 9 — внутренняя втулка; 10 — стопорный винт; 11 — торсионный вал; 13 — заглушка; 14 — пробка; 15 — сальник; 16 — прокладки; 17 — упорный диск; 18 — стопорная планка; 19 — болт; 20 — фланец; 21 — регулировочные прокладки
Упор балансира:
1 — упорный диск; 2— кронштейн упора; 3 — направляющий
диск; 4 — гайка; 5 — резиновые кольца; 6 — болт
Опорный каток (разрез):
1 — ступица катка; 2 и 18 — болты; З и 19 — пружинные шайбы; 4 — броневая крышка; 5 — гайка; 6 — шпилька; 7 и 12 — пробки; 8 и 11 — фибровые прокладки; 9 — заглушка; 10 — шарикоподшипник; 13 — распорная втулка; 14 — крышка сальника; 15 — ось катка; 16 — балансир; 17 — роликовый цилиндрический подшипник; 20 — лабиринтное кольцо; 21 — манжета; 22 — нажимное кольцо; 23 — пружина
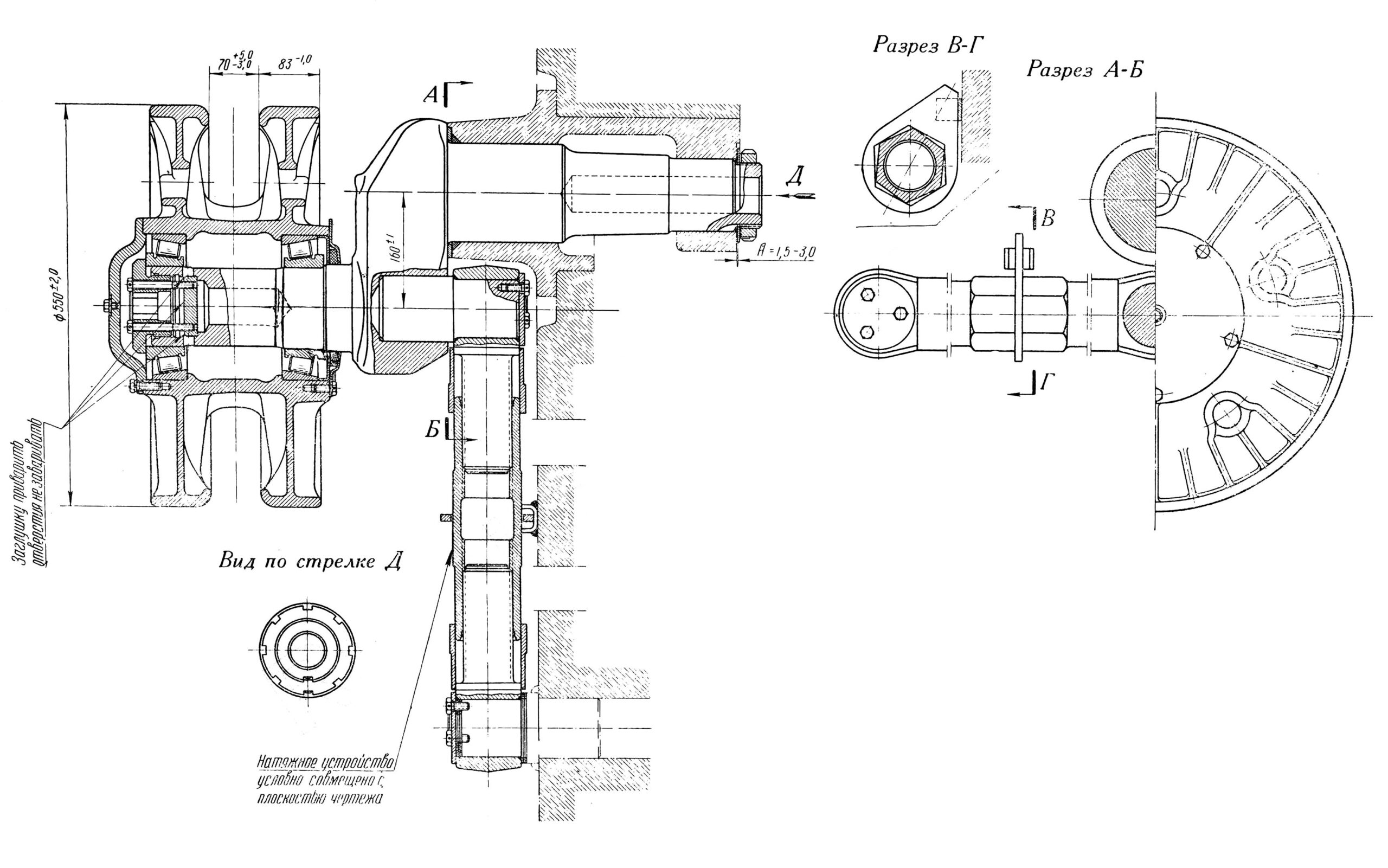
Направляющее колесо с кривошипом (разрез):
1 — кривошип; 2 — прокладка; 3 — уплотнительное кольцо; 4 — кронштейн. 5 — регулировочные кольца; 6 — отгибная шайба; 7 — гайка; 8 — упорная шайба; 9 — проушина винта; 10 — цапфа; 11 — болт; 12— крышка: 13 — уплотнение; 14 — направляющее колесо; 15 — пробка
Механизм натяжения гусениц (разрез):
1 — кривошип. 2 — муфта; 3 — скоба: 4 — стопор; 5 и 10— винты; 6 — обойма: 7 — сальник; 8 — чехол; 9 — пробка; 11 — болт; 12 — крышка; 13 — уплотнение; 14 и 15 — прокладки; 16 — цапфа
Детали натяжного механизма:
1 — ось кривошипа: 2 — щека: 3 — ось катка; 4 — уплотнительный шнур; 5, 9 — винт; 6 — стопорная планка; 7 — болты; 8 — заглушки; 10 — ось упора; 11 — муфта; 12 — отверстие кронштейна кривошипа
Детали ведущего колеса:
1 — корпус ведущего колеса; 2 — зубчатый венец; 3 — вилт; 4 — круглая гайка; 6 — шарикоподшипник; 6 — кронштейн; 7 — роликоподшипники. 8 — кольцо; 9 — обойма сальника; 10, 13 — пружинные кольца; 11 — болт; 13 — шестерня: 11 — болт; 15 — муфта; 16 — крышка; 17 — стопорная планка; 18 — броневой колпак; 19 — распорная втулка; 30 — стопорная шайба; 21 — обойма сальника; 22 — пробка для смазки; 23 — сальник
Ведущее колесо (разрез):
1 — корпус; 2 и 5 — шарикоподшипники; 8 — распорная втулка; 4 — пробка; 6 и 32 — зубчатые венцы; 7 и 31-— болты; 8 — щиток; 9 — обойма сальника; 10 — штифт; 11 и 12— сальники; 13 — водило бортовой передачи; 14 — лабиринтное кольцо; 15 — кронштейн бортовой передачи; 16 — деревянная втулка; 17 — прокладка; 18 — штифт; 19 — пробка: 20 — гайка; 27 — муфта; 22 — блокировочная шестерня; 23 — болт; 24 — броневой колпак; 25 — болт; 26 — пружинная шайба; 27 — прокладка; 28 — стопорная шайба; 29 — болт; 30 — стопорная планка
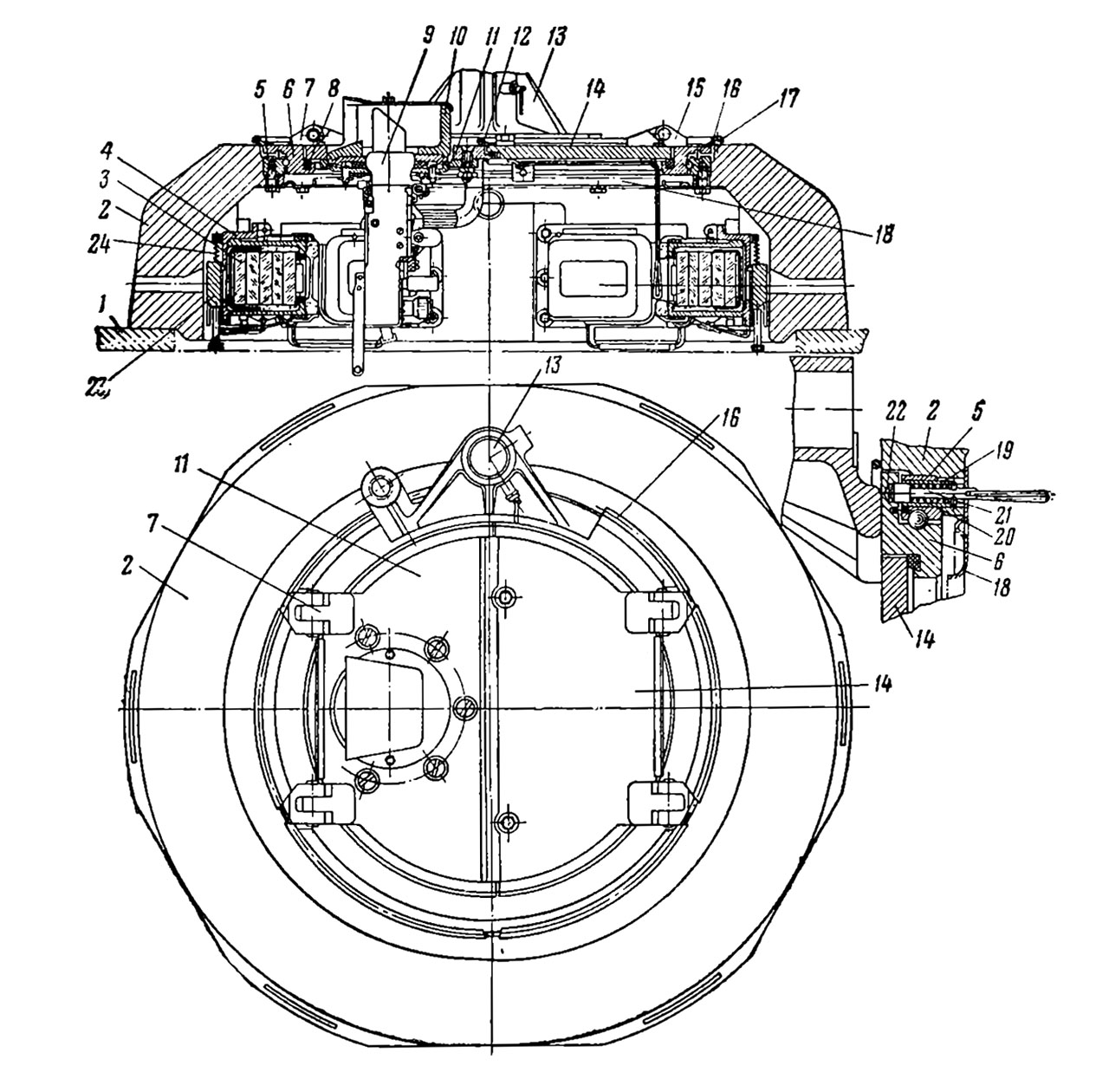
Поддерживающий каток в сборе с кронштейном (разрез):
1 — корпус катка; 2 — шарикоподшипник; 3 — гайка; 4 — стопорная шайба; 5 — броневая крышка; 6 — пробка; 7 — прокладка; 8 — болт; 9 — пружинная шайба; 10 — прокладка; 11 — распорная втулка; 12 — внутреннее кольцо сальника: 13 — наружное кольцо сальника; 14 — сальник; 15 — кронштейн; 16 — болт; 17 — стопорная планка; 18 — регулировочная прокладка; 19 — кольцо; 20 — ребра жесткости